Η GM έχει καταθέσει αίτηση για δίπλωμα ευρεσιτεχνίας σχετικά με ένα σύστημα βαλβίδων για δίχρονο κινητήρα.
Η αίτηση ευρεσιτεχνίας φέρει τον αριθμό US 2025/0354528 A1 και κατατέθηκε στο Γραφείο Ευρεσιτεχνιών και Εμπορικών Σημάτων των ΗΠΑ (USPTO) στις 20 Μαΐου του 2024. Η δημοσίευση της αίτησης έγινε στις 20 Νοεμβρίου 2025, και ως εφευρέτης αναφέρεται ο Alan G. Holmes από το Clarkston του Μίσιγκαν.
Σε έναν παραδοσιακό δίχρονο κινητήρα, η συμπίεση και η εκτόνωση συμβαίνουν κάθε φορά που το έμβολο εκτελεί έναν κύκλο μέσα στον θάλαμο. Η εισαγωγή και η εξαγωγή συνήθως πραγματοποιούνται μέσω σταθερών θυρίδων στα τοιχώματα του κυλίνδρου καθώς το έμβολο περνά και ανοιγοκλείνει αυτές τις θυρίδες. Αυτή η απλότητα προσφέρει υψηλή ισχύ και συμπαγή διάταξη, αλλά δημιουργεί επίσης προκλήσεις σε στεγανοποίηση, αντοχή, απομάκρυνση καυσαερίων και απόδοση. Αντίθετα, ο τετράχρονος κινητήρας, ο συνηθέστερος τύπος κινητήρα, διατηρεί την εισαγωγή, συμπίεση, εκτόνωση και εξαγωγή ως ξεχωριστές φάσεις και αυτό γίνεται με τον μηχανισμό των βαλβίδων επάνω από τον κύλινδρο, προσθέτοντας πολυπλοκότητα αλλά βελτιώνοντας τον έλεγχο και την απόδοση.

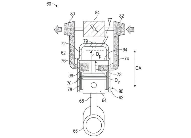
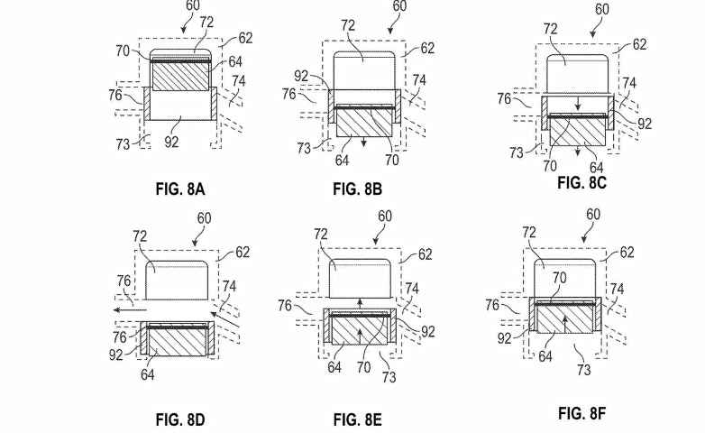
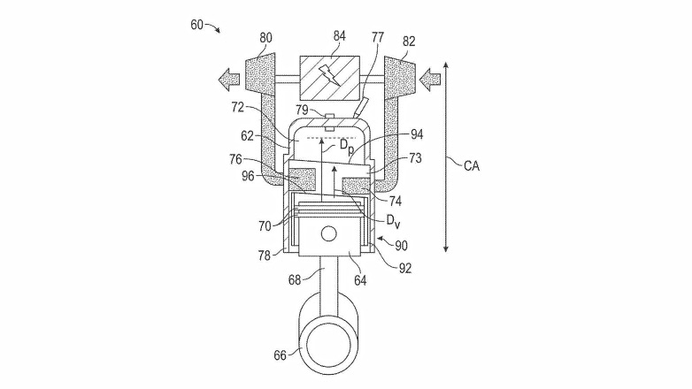
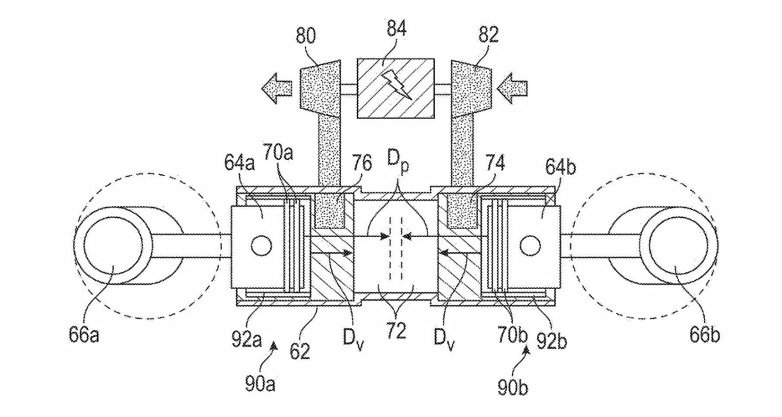
Η ευρεσιτεχνία της GM στοχεύει στη διατήρηση των πλεονεκτημάτων του συμπαγούς σχεδιασμού ενός δίχρονου κινητήρα, ενώ ταυτόχρονα αντιμετωπίζει ορισμένα από τα μειονεκτήματά του. Το σύστημα εισάγει ένα κινητό χιτώνιο εντός του κυλίνδρου και τοποθετείται μεταξύ του εμβόλου και του τοιχώματος του κυλίνδρου, κοντά στις θυρίδες που διοχετεύουν αέρα εισαγωγής και απομακρύνουν τα καυσαέρια. Το χιτώνιο αυτό ολισθαίνει κατά μήκος του άξονα του κυλίνδρου και κινείται σε συντονισμό με το έμβολο. Ο ρόλος του είναι να ανοίγει ή να κλείνει τις θυρίδες την κατάλληλη στιγμή στον κύκλο της εκτόνωσης .

Όταν βρίσκεται σε κλειστή θέση, το στοιχείο καλύπτει τη θυρίδα ώστε να μην διαφεύγουν αέρια, ενώ όταν ανοίγει, επιτρέπει την κανονική ροή. Ένας ενεργοποιητής που δεν φαίνεται ακριβώς με ποιον τρόπο ελέγχει την κίνηση του χιτωνίου, είναι το κλειδί της καλής λειτουργίας καθώς πρέπει να αποτρέπει το απότομο σταμάτημα της κίνησης του χιτωνίου επάνω και κάτω, βάσει της θέσης του εμβόλου σε κάθε κύκλο λειτουργίας, αλλά και να εξασφαλίζει σωστό χρονισμό και μεταβαλλόμενο για καλύτερη απόδοση. Σε ορισμένες εκδοχές, το χιτώνιο έχει σχήμα μανικιού με λίγη κλίση στο σημείο επαφής με το επάνω μέρος στον κύλινδρο, ενώ σε άλλες χωρίζει τις θυρίδες εισαγωγής και εξαγωγής με εντελώς οριζόντια θέση. Η κλίση στο επάνω μέρος βοηθά την ομαλότερη μετάβαση των ελατηρίων του εμβόλου από το χιτώνιο στο επάνω μέρος του κυλίνδρου. Και αυτό είναι το μεγαλύτερο πλεονέκτημα, καθώς τα ελατήρια έχουν πάντα ολική επαφή με τα τοιχώματα και όχι μερική επαφή όταν περνάνε από τις θυρίδες όπως συμβαίνει μέχρι σήμερα στους δίχρονους κινητήρες, αποφεύγοντας την φθορά τους αλλά και του ίδιου του κυλίνδρου.

Ο σχεδιασμός της GM προσφέρει βελτίωση στη στεγανοποίηση. Το έμβολο διαθέτει ελατήρια στεγανοποίησης, ενώ το χιτώνιο είναι διαμορφωμένο έτσι ώστε οι δακτύλιοι να μην χτυπούν στα άκρα των θυρίδων εισαγωγής ή εξαγωγής. Αντί αυτού, το χιτώνιο μεταφέρει ομαλά τα ελατήρια πάνω από τα ανοίγματα, αποτρέποντας την πρόσκρουση και τη φθορά. Αυτή η ομαλότερη κίνηση βοηθά επίσης στον καλύτερο έλεγχο του χρονισμού εισαγωγής και εξαγωγής με τη δυνατότητα μεταβολής ανάλογα με το φορτίο και τις στροφές λειτουργίας του κινητήρα.

Συνολικά, η ευρεσιτεχνία της GM υπόσχεται καλύτερη απόδοση, μεγαλύτερη διάρκεια ζωής του κινητήρα, βελτιωμένη οικονομία καυσίμου και καθαρότερη λειτουργία. Μπορεί να χρησιμοποιηθεί σε μια ευρεία γκάμα εφαρμογών με τις μοτοσυκλέτες να επωφελούνται ακόμη περισσότερο ειδικά στα εκτός δρόμου μοντέλα.
099.jpg)
Η GM σκοπεύει να χρησιμοποιήσει αυτόν τον νέο δίχρονο κινητήρα σε αυτοκίνητα, μοτοσυκλέτες, υβριδικά οχήματα, κατασκευαστικό εξοπλισμό και αεροσκάφη. Υπάρχουν πολλές και διαφορετικές διατάξεις των εμβόλων αλλά και του τρόπου εισαγωγής του μείγματος αέρα-βενζίνης και εξαγωγής των καυσαερίων, με την λύση του ηλεκτρικού συμπιεστή σε συνδυασμό με τουρμπίνα να είναι η πιο αποδοτική. Μένει να δούμε με ποια εταιρία μοτοσυκλετών θα συνεργαστεί για να υπάρχει όσο πιο σύντομα ο κινητήρας αυτός στην παραγωγή.









.png)

