Η Yamaha εξερευνά την ώθηση από τα καυσαέρια της εξάτμισης για τη βελτίωση της συμπεριφοράς και των επιδόσεων.
Η Yamaha έχει καταθέσει δύο νέες πατέντες στην Ιαπωνία, οι οποίες δείχνουν ότι εξετάζει το ενδεχόμενο χρήσης βαλβίδων μέσα στα συστήματα εξάτμισης ώστε να ανακατευθύνει τα καυσαέρια από διαφορετικές εξόδους, ανάλογα με τις ανάγκες της μοτοσυκλέτας όπως τη βελτίωση της επιτάχυνσης σε ευθεία, τη μείωση της σούζας ή η τη βελτίωση της συμπεριφοράς και του κρατήματος στις στροφές.

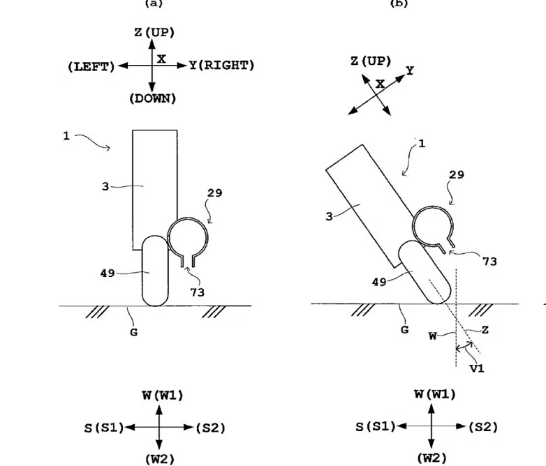
Οι πατέντες απεικονίζουν την ιδέα πάνω σε μια MT-07, αλλά είναι ξεκάθαρο ότι πρόκειται για κάτι που ταιριάζει περισσότερο σε μοτοσυκλέτες υψηλών επιδόσεων, με έμφαση στη χρήση πίστας όπου μπορεί να διαπιστωθεί η λειτουργικότητά της πατέντας αλλά και η διαφορά στους χρόνους γύρου. Υπάρχουν δύο διακριτές πατέντες: η μία αφορά το πώς η εξάτμιση μπορεί να μειώσει τις σούζες και να βελτιώσει την επιτάχυνση, ενώ η άλλη χρησιμοποιεί την ίδια λογική για να ενισχύσει το κράτημα και να βελτιώσει τη συμπεριφορά στις στροφές.

Και οι δύο χρησιμοποιούν ένα απλό σύνολο βαλβίδων με πεταλούδες μέσα στην εξάτμιση για να κατευθύνουν τη ροή. Στην έκδοση που στοχεύει στη μείωση της ανύψωσης του εμπρός τροχού, το τελικό της εξάτμισης χωρίζεται στα δύο: ένα μεγαλύτερο τμήμα, χαμηλά τοποθετημένο που μειώνει την αντίσταση στη ροή ώστε να μεγιστοποιείται η ισχύς του κινητήρα, και ένα μικρότερο τμήμα που τοποθετείται ψηλότερα και είναι στραμμένο προς τα πάνω. Η μικρότερη διάμετρος αυξάνει την ώθηση των καυσαερίων από τον ψηλά τοποθετημένο σωλήνα της εξάτμισης, ενώ η θέση και η γωνία του βοηθούν στο να περιστρέφεται η μοτοσυκλέτα γύρω από τον πίσω τροχό, πιέζοντας τον μπροστινό τροχό προς το έδαφος.
Πολλές μοτοσυκλέτες στο MotoGP και στο WSBK χρησιμοποιούν ήδη ψηλά τοποθετημένες εξατμίσεις. Η ιδέα της Yamaha για ένα μεταβαλλόμενο σύστημα με βαλβίδες που κατευθύνουν τη ροή της εξάτμισης ανάλογα με την ανάγκη προσθέτει μια νέα διάσταση, θυσιάζοντας μέρος της απόλυτης ισχύος του κινητήρα υπέρ της αυξημένης ώθησης μέσω του μικρής διαμέτρου που έχει ο σωλήνας της εξάτμισης και επιταχύνει τη ροή των καυσαερίων. Όταν η επιτάχυνση της μοτοσυκλέτας περιορίζεται από την πρόσφυση και τις σούζες, αυτή η θυσία έχει νόημα, αφού έτσι κι αλλιώς δεν μπορεί να αξιοποιηθεί όλη η ισχύς. Μόλις η ταχύτητα αυξηθεί, τότε περισσότερη ισχύς από τον κινητήρα μπορεί να μεταφερθεί στον δρόμο χωρίς τον κίνδυνο ανύψωσης του εμπρός τροχού, οπότε η βαλβίδα μεταβαίνει στον ελεύθερης ροής, οπίσθιας κατεύθυνσης σωλήνα της εξάτμισης.

Η έκδοση του συστήματος που εστιάζει στις στροφές λειτουργεί παρόμοια σε σύλληψη, αλλά αντί να κατευθύνει τα καυσαέρια σε μια ψηλά τοποθετημένη έξοδο για τις σούζες, τα ωθεί μέσα από έναν στενό σωλήνα που κοιτάζει κατευθείαν προς τα κάτω. Όταν η μοτοσυκλέτα βρίσκεται σε πλήρη κλίση και είναι αδύνατο να αξιοποιήσει όλη την ισχύ της, η εξάτμιση μπορεί να κατευθύνει τα καυσαέρια προς τον σωλήνα που τα ωθεί προς τα κάτω, ο οποίος όμως, λόγω της κλίσης, θα κατευθύνει πλέον τη ροή προς τα έξω, δίνοντας μια ώθηση στη μοτοσυκλέτα προς το εσωτερικό της στροφής. Μια δεύτερη, πιο περίπλοκη εκδοχή, προσθέτει δύο λοξές εξόδους που επιτρέπουν την κατεύθυνση της ροής λοξά αριστερά ή δεξιά, προσφέροντας πρόσθετη βοήθεια στο στρίψιμο ακόμη κι όταν η κλίση δεν είναι μεγάλη, μια συνθήκη που συμβαίνει στις διαδρομές σε δρόμους με στροφές και μέτριας πρόσφυσης άσφαλτο, ενώ στην πίστα η διεύθυνση της ώθησης είναι ακόμη πιο οριζόντια προς το εσωτερικό της στροφής.
Αν και υπάρχουν δύο ξεχωριστές πατέντες για τις εκδόσεις μείωσης σούζας και βελτίωσης του κρατήματος στις στροφές, ο τελικός στόχος είναι ο συνδυασμός τους σε ένα ενιαίο σύστημα πολλαπλών εξόδων, με αρκετές βαλβίδες για την ανακατεύθυνση της ροής. Οι πατέντες περιλαμβάνουν εικόνες με μια εξάτμιση που έχει και τις δύο λειτουργίες ενσωματωμένες, μαζί με μια μεγαλύτερης διαμέτρου οπίσθια έξοδο για τη μέγιστη ισχύ στην ευθεία.

Τα οφέλη μπορεί να είναι μικρά, αλλά κάθε πλεονέκτημα μετρά και σε μια δύσκολη στιγμή μπορεί να αποδειχθούν καθοριστικά. Σε χρήση στην πίστα όπου τα δέκατα του δευτερολέπτου μετρούν, είναι σίγουρα μια καλή λύση αρκεί να μην προσθέτει πολύ βάρος ή τουλάχιστον να μπορεί το επιπλέον βάρος να έχει μικρότερη επίπτωση στις επιδόσεις από τα οφέλη της ώθησης των καυσαερίων.
Οι βαλβίδες χρησιμοποιούνται ήδη σε αγωνιστικές εξατμίσεις για τη ρύθμιση του φρεναρίσματος του κινητήρα και επειδή είναι εσωτερικές και επηρεάζουν τη ροή της εξάτμισης αντί για τη ροή του αέρα γύρω από τη μοτοσυκλέτα, είναι απίθανο να έρθουν σε σύγκρουση με κανονισμούς που απαγορεύουν κινητά αεροδυναμικά στοιχεία, ιδιαίτερα όταν δουλεύουν εσωτερικά στις εξατμίσεις.
Η βοήθεια που προσφέρουν τα αεροδυναμικά φτερά, θα συμπληρωθεί με τη χρήση κατευθυνόμενης ροής εξάτμισης και μπορεί να αποτελέσουν μια βιώσιμη λύση για την ανάκτηση μέρους των χαμένων επιδόσεων που περιορίζονται από την πρόσφυση του πίσω τροχού ή την ανύψωση του εμπρός. Το πιο σημαντικό όμως είναι η ασφάλεια στον δρόμο γιατί στο τέλος η τεχνολογία που δοκιμάζεται στους αγώνες περνά και στις μοτοσυκλέτες παραγωγής και η ασφάλεια από το περισσότερο κράτημα είναι το ζητούμενο σε όλες τις συνθήκες.







.png)

